供应半自动尿液分析仪与碳硫分析仪 提升医疗与工业检测效率
碳硫分析仪 原理、应用与选型指南
JN8608-1E型碳硫高速分析仪 高效精准的金属元素检测解决方案
碳硫分析仪 精准检测金属元素含量的关键工具
碳硫分析仪 材料成分检测的关键工具
全能元素分析仪与碳硫分析仪 工作原理、应用及发展前景
山西碳硫分析仪价格解析及微机碳硫分析仪简介
红外碳硫分析仪器 精准测定铁矿石中的碳硫含量
碳硫分析仪电磁阀的综合解析 价格、批发与厂家信息
红外碳硫分析仪N HW2000D选购指南 维库仪器仪表网的优选供应商
碳硫分析仪 原理、应用与发展前景
碳硫高速分析仪 报价、供应商与批发厂商全解析
碳硫分析仪 高效精准的化学元素分析设备
济南碳硫分析仪价格、批发与供应——谷瀑环保引领优质检测
进口碳硫分析仪CS1001 精准检测,助力材料分析
Multi EA 5000 元素分析仪 高精度碳、氮、硫、氯分析解决方案
Lecocs744系列碳硫元素分析仪 高效精准的元素检测利器
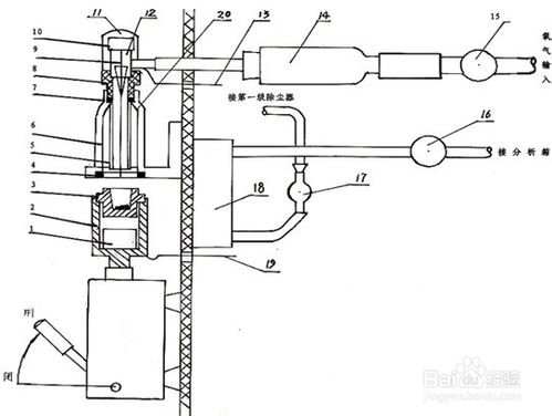
高频红外碳硫分析仪的原理与应用
高效精准的碳硫分析利器——DW-HWA型红外碳硫分析仪
微机碳硫联测分析仪QJ16-NFT1-CS1A 碳硫分析的先进解决方案
如若转载,请注明出处:http://www.njylyq.com/product/list-2.html